you are on the new server domainname will switch later
If you can not login please clear cookies
chevron_left
chevron_right
The-Photo forum
  • Home
  • Forums
    • theatersImage Discussions arrow_forward
      • chat_bubbleChallenges arrow_forward
        • camera Edit me an Image
        • camera Photo of the Week
      • chat_bubbleHave your photos Critiqued arrow_forward
        • camera Wednesday C&C
      • Showcase your Photos
      • chat_bubbleWeekly & Topic Image Threads arrow_forward
        • camera Abstract/Experimental
        • camera B&W Threads
        • camera Sunday Cats!
        • camera Weekly Collegial forum
        • camera Daily Outing
        • camera This week through your eyes
        • camera Landscape
        • camera Macro & Close Up
        • camera Street Photography
    • theatersMiscellaneous forums arrow_forward
      • Photo Hardware Discussions
      • Industry News
    • theatersOther Photography Talk arrow_forward
      • Photo History Trivia
      • Open discussions
      • Technical Discussions
    • Site Discussions
    • theatersWelcome arrow_forward
      • chat_bubbleForum Guidelines arrow_forward
        • camera Misplaced Posts
  • Threads
  • Users
  • Web Site
  • message
  • group
  • chevron_right Threads
  • label Other Other Photography Talk
  • label TQ Technical Discussions

Patents related to photographic lenses

Dibyendu
March 30, 2023
chat_bubble_outline 24
arrow_downward chevron_right last_page
  • link
    Dibyendu
    Members 139 posts
    March 30, 2023, 7:53 p.m. March 30, 2023, 7:53 p.m.
    link

    This is a continuation of the series started at DPreview.com.

    I will copy across all the messages from there so that we do not lose information if DPreview.com forums get deleted. But here are the original threads:

    www.dpreview.com/forums/post/66804601 - Part 8

    www.dpreview.com/forums/post/66553339 - Part 7

    www.dpreview.com/forums/post/66387822 - Part 6

    www.dpreview.com/forums/post/65906028 - Part 5

    www.dpreview.com/forums/post/65600385 - Part 4

    www.dpreview.com/forums/post/65291223 - Part 3

    www.dpreview.com/forums/post/64825009 - Part 2

    www.dpreview.com/forums/post/63870069 - Part 1

    pwilly, xlucine, JohnVickers and 2 other users like this.

    favorite 5

  • link
    Dibyendu
    Members 139 posts
    March 31, 2023, 7:11 a.m. March 31, 2023, 7:11 a.m.
    link

    The Optical Bench Hub maintained by Bill Claff at Photons to Photos is the largest database of patents that can be matched to an actual production photographic lens.

    I also maintain a subset of Nikon related patents list at Nikon Nikkor Lens Patent Database. My goal is to find the best match for a production lens, that may or may not be an exact match.

  • link
    Dibyendu
    Members 139 posts
    March 31, 2023, 7:16 a.m. March 31, 2023, 7:16 a.m.
    link

    The lens patent data can be used to analyze the lens theoretical performance. For instance, using the open source ray-optics package maintained by Michael Hayford, following is a Jupyter Notebook that looks at the Canon 50mm RF f1.2 lens.

    Canon 50mm RF f1.2

  • link
    Dibyendu
    Members 139 posts
    March 31, 2023, 7:30 a.m. March 31, 2023, 7:30 a.m.
    link

    Patents also reveal who is behind a particular lens design.
    Many modern Leica, Zeiss branded lenses are actually designed by Japanese firms!
    Nikon collaborates with other companies too!

  • link
    Dibyendu
    Members 139 posts
    March 31, 2023, 6:42 p.m. March 31, 2023, 6:42 p.m.
    link

    I intend to copy across the lenses that are not covered by Bill Claff, to start with. The ones already covered by Bill in his database, can be found at The Optical Bench Hub.

  • link
    Dibyendu
    Members 139 posts
    March 31, 2023, 6:51 p.m. March 31, 2023, 6:51 p.m.
    link

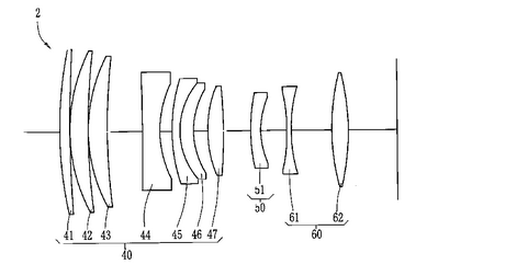
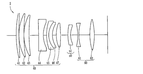
    The Sigma 40mm f1.4 ART lens is one of the most elaborately designed lenses for a prime.
    It is a Zeiss Otus class lens at a fraction of the price. Its design incorporates 3 fluorite class Super ED glass elements, and three ED glass elements. Although not branded APO it is very much an apo-chromatic design.

    image.png

    Patent JP2018134615A - 2018.

    Using patent data:

    image.png

    More detailed analysis from patent data using Michael Hayford's ray-optics.

    image.png

    PNG, 77.9 KB, uploaded by Dibyendu on March 31, 2023.

    image.png

    PNG, 82.8 KB, uploaded by Dibyendu on March 31, 2023.

    xlucine and XRay like this.

    favorite 2

  • link
    Dibyendu
    Members 139 posts
    March 31, 2023, 9 p.m. March 31, 2023, 9 p.m.
    link

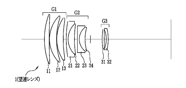
    Nikkor Z 20mm f1.8S

    This is an example where the patent is the best rather than exact match for the production lens.

    image.png

    The patent is WO2021117429A1.

    image.png

    image.png

    PNG, 57.0 KB, uploaded by Dibyendu on March 31, 2023.

    image.png

    PNG, 90.9 KB, uploaded by Dibyendu on March 31, 2023.

    xlucine likes this.

    favorite 1

  • link
    Dibyendu
    Members 139 posts
    April 1, 2023, 9:49 a.m. April 1, 2023, 9:49 a.m.
    link

    Cosina Voigtlander SL Macro Apo Lanthar 125 mm f/2.5

    This lens has legendary status amongst many photographers.

    image.png

    The related patent is JP2002090622A, designer Yoshihisa Yomogida, 2000.

    image.png

    image.png

    PNG, 34.8 KB, uploaded by Dibyendu on April 1, 2023.

    image.png

    PNG, 955.0 KB, uploaded by Dibyendu on April 1, 2023.

    xlucine likes this.

    favorite 1

  • link
    Dibyendu
    Members 139 posts
    April 1, 2023, 9:58 a.m. April 1, 2023, 9:58 a.m.
    link

    Cosina Voigtlander Apo-Lanthar 180mm f4

    image.png

    Patent JP2003270529A, also by YOMOGIDA YOSHIHISA, 2003.

    image.png

    image.png

    PNG, 40.3 KB, uploaded by Dibyendu on April 1, 2023.

    image.png

    PNG, 431.9 KB, uploaded by Dibyendu on April 1, 2023.

  • link
    Dibyendu
    Members 139 posts
    April 1, 2023, 10:24 a.m. April 1, 2023, 10:24 a.m.
    link

    Cosina Voigtlander 50mm f2 Apo-Lanthar

    Related patent JP-2021-043376.

    image.png

    From the patent

    image.png

    image.png

    image.png

    PNG, 383.4 KB, uploaded by Dibyendu on April 1, 2023.

    image.png

    PNG, 97.4 KB, uploaded by Dibyendu on April 1, 2023.

    image.png

    PNG, 105.9 KB, uploaded by Dibyendu on April 1, 2023.

  • link
    Dibyendu
    Members 139 posts
    April 2, 2023, 5:10 p.m. April 2, 2023, 5:10 p.m.
    link

    Cosina Voigtlander Nokton D35mm F1.2 (Z mount)

    image.png

    Related patent JP2022-128635A

    image.png

    image.png

    PNG, 148.9 KB, uploaded by Dibyendu on April 2, 2023.

    image.png

    PNG, 39.0 KB, uploaded by Dibyendu on April 2, 2023.

  • link
    bclaff
    Members 21 posts
    April 7, 2023, 2:54 p.m. April 7, 2023, 2:54 p.m.
    link

    Sony FE PZ 16-35mm F4 G
    Sony FE PZ 16-35mm F4 G.png

    Sony FE PZ 16-35mm F4 G.png

    PNG, 101.6 KB, uploaded by bclaff on April 7, 2023.

    Dibyendu likes this.

    favorite 1

  • link
    bclaff
    Members 21 posts
    May 2, 2023, 12:56 a.m. May 2, 2023, 12:56 a.m.
    link

    Isco 135mm F2.8
    snip.png

    snip.png

    PNG, 113.3 KB, uploaded by bclaff on May 2, 2023.

  • link
    bclaff
    Members 21 posts
    May 2, 2023, 4:36 a.m. May 2, 2023, 4:36 a.m.
    link

    Isco Westrogon 24mm F4
    snip.png

    snip.png

    PNG, 110.3 KB, uploaded by bclaff on May 2, 2023.

  • link
    bclaff
    Members 21 posts
    May 4, 2023, 3:08 a.m. May 4, 2023, 3:08 a.m.
    link

    Canon RF15-30mm F4.5-6.3 IS STM
    snip.png

    snip.png

    PNG, 103.1 KB, uploaded by bclaff on May 4, 2023.

    Dibyendu likes this.

    favorite 1

  • link
    bclaff
    Members 21 posts
    May 11, 2023, 3:19 a.m. May 11, 2023, 3:19 a.m.
    link

    Leica Elmarit 28mm f2.8
    snip.png

    snip.png

    PNG, 69.9 KB, uploaded by bclaff on May 11, 2023.

  • link
    Iyou1
    Members 1 post
    May 11, 2023, 4:47 p.m. May 11, 2023, 4:47 p.m.
    link

    It seems that there are some problems with this patent. The original data give a 104mm focal length instead of 100mm, which is not within the margin of error. Also I sent you a PM :)

  • link
    bclaff
    Members 21 posts
    May 11, 2023, 11:52 p.m. May 11, 2023, 11:52 p.m.
    link

    Cosina Voigtlander Nokton 50mm F1.0 Aspherical
    snip.png

    snip.png

    PNG, 98.1 KB, uploaded by bclaff on May 11, 2023.

    Dibyendu likes this.

    favorite 1

arrow_upward chevron_right last_page

There are 7 more posts in this thread.

  • DPRevived.com & the-photo.org are owned and operated by The Photographer's Foundation Limited, registered in England, company number 14795583. Contact us here https://the-photo.org/contact.html
powered by misago